
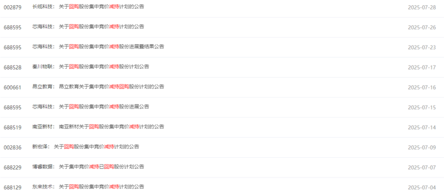
2025年7月,上市公司已披露10份减持“回购股份”的公告,平均3天一份。正常减持公告的每日披露家数来看,标准在15家-25家之间波动,主要受到前一日大盘的走势而定。有此,有朋友私信问我说是不是减持完全放开了,我是持否定的,理由有2点。
1. 依旧有减持公告提到实控人和董监高不参与减持(当然不排除真的不想卖,但是数量不多,更多还是强制性为主。
2. 依旧有股东在参与询价转让。(众所周知,询价的折扣很低,甚至低于锁定大宗,这中间就少了不少利润,为什么股东愿意去做,不是被忽悠了,就是被迫接受询价,关键点在于发不出公告)。

粗略来看,这些公司大概率是之前被指导后,要求回购的那批公司。
从目前的大盘稳定性来看,此时寻求减持“回购股份”是个不错的时间节点。
首先是减持的节奏比之前要松一些,方便批下来,其次是正规军持续的在维护指数,除了那些个别大涨大跌的票以外。
多数票还是拉起来一些,且稳定性够。
之前有跟客户沟通过关于回购股份的事情,那时候大盘持续被打压,会里一直盯着让买买买,资金压力巨大。
你问回购贷款?
其实可以看下全市场的使用量,其实不是主流的,这说明实用性有,但是不多。
根据证券时报消息,自2024年10月股票回购增持再贷款工具设立以来,截至2025年6月30日,已有超630家上市公司获银行股票回购增持贷款支持,按贷款金额上限计算,总金额超1300亿元。
据Wind数据显示,截至2025年7月18日收盘,A股总市值达到105.5万亿元。
则1300亿占A股全市市值的比例为:1300÷1055000×100%≈0.12%,可见一斑。
所以,在能卖的时候,价格又合适,一定要当机立断。
因为,不可见的手随时在变。



